요약
암 환자가 증가하는 현대 사회에서 암 유발 유전자의 식별은 매우 중요한 도전 과제입니다. 이를 해결하기 위해 암 환자와 정상 환자로부터 수집된 유전자 데이터를 분석하여 유전자와 암 발생 간의 연관성을 탐구하는 데이터 분석 기술이 필요합니다. 이 기술은 암의 조기 진단과 맞춤형 치료를 가능하게 하여 치료 효과를 극대화할 수 있습니다. 해당 기술은 유전자 간의 영향력을 나타내는 가중치를 사용하는 행렬 연산을 통해 특정 유전자를 식별합니다. 이를 통해 시간과 비용을 절감하며, 암의 진단과 치료의 정확성을 향상시킬 수 있습니다.
기본 정보
•
특허명: 암 유발 유전자의 식별을 위한 전자 장치 및 그 동작 방법
•
발명자: 안재균 교수
•
출원번호: 10-2020-0116606
•
등록번호: 10-2515355
상세 정보
발명의 배경과 필요성
기술의 배경과 문제점
•
최근 식생활의 서구화 등으로 인해 암 환자가 증가하고 있음.
•
암을 유발하는 유전자만을 식별할 수 있다면, 암 환자에게 적절한 진단 및 치료 방법을 적용하여 치료 효과를 극대화할 수 있음.
•
그러나 많은 종류의 유전자 중에서 암을 유발하는 유전자를 식별하는 것은 매우 어려운 문제임.
•
암 환자와 정상 환자로부터 수집된 유전자 데이터를 기초로 유전자와 암 발생 간의 연관성을 분석하면 암을 유발하는 유전자를 식별할 수 있음.
•
따라서 암의 진단과 치료에 도움을 줄 수 있는 데이터 분석 기술 개발이 필요함.
기술의 필요성
•
암 유발 유전자의 식별을 통해 암의 조기 진단과 맞춤형 치료가 가능해짐.
•
암 환자와 정상 환자로부터 수집된 데이터를 분석하여 특정 유전자를 식별함으로써, 암 치료의 효과를 높일 수 있음.
•
효율적인 데이터 분석 기술을 통해 시간과 비용을 절감할 수 있음.
구현방법
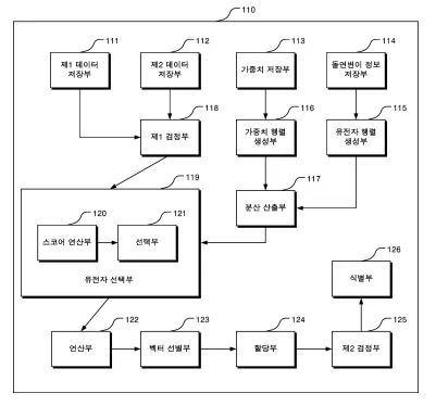
기술의 원리
•
암 유발 유전자의 식별을 위한 전자 장치는 암 환자와 정상 환자로부터 수집된 유전자 데이터를 저장함.
•
유전자 간의 영향력 정도를 표상하는 가중치를 저장하고, 돌연변이 유전자 정보도 함께 저장함.
•
유전자 데이터를 기반으로 유전자 행렬과 가중치 행렬을 생성한 후, 이들을 반복적으로 연산하여 특정 유전자를 선택함.
구체적인 구현 방법
•
제1 데이터 저장부에 암 환자들의 유전자 발현량 데이터를 저장하고, 제2 데이터 저장부에 정상 환자들의 유전자 발현량 데이터를 저장함.
•
가중치 저장부에 유전자 간의 영향력을 나타내는 가중치를 저장함.
•
돌연변이 정보 저장부에는 돌연변이 유전자 정보를 저장함.
•
이 데이터를 활용해 n x n 크기의 유전자 행렬과 가중치 행렬을 생성하고 연산함.
•
단일 표본 t-검정을 통해 유전자 간의 유의미한 차이를 분석하고, 이를 기반으로 암과 연관성이 높은 유전자와 낮은 유전자를 선택함.
기술의 장점
•
암 유발 유전자를 보다 정확하게 식별할 수 있음.
•
조기 진단 및 맞춤형 치료 방안 제시에 도움을 줄 수 있음.
•
효율적인 데이터 분석으로 시간과 비용을 절감할 수 있음.
발명의 활용 방안
활용 방안
•
암 유발 유전자 식별 기술은 의료 분야에서 암 진단 및 치료에 활용될 수 있음.
•
정밀의료와 연계하여 개인 맞춤형 치료 전략 수립에 사용할 수 있음.
•
유전자 연구 기관 및 의료 기관에서 연구 분석 도구로 활용할 수 있음.
기대효과
•
암 진단 및 치료의 정확성과 효율성 향상.
•
조기 진단을 통해 암 치료의 성공률을 높일 수 있음.
•
효과적인 유전자 분석을 통해 연구 비용과 시간을 절감할 수 있음.
•
개인 맞춤형 치료 전략 수립으로 환자의 삶의 질을 향상시킬 수 있음.
시장 동향
암 유발 유전자 식별
암 유발 유전자 식별 응용 분야
대표도면
인천대학교 산학협력단
(21999) 인천광역시 연수구 갯벌로 27(송도동) INU이노베이션센터 202호
본 메일은 마케팅 활용 동의서에 동의하신 회원님께 전송된 것입니다.
COPYRIGHT (c) 2026 Incheon National University. ALL RIGHT RESERVED.


