요약
본 기술은 딥러닝 기반의 댓글 예측 모델을 활용하여, 댓글 집합으로부터 추가적인 댓글의 생성 여부를 예측하는 기술입니다. 이를 통해 플랫폼 운영자는 댓글 활동의 트렌드를 파악하고, 콘텐츠 관리 및 마케팅 전략을 개발할 수 있습니다. 또한, 사용자 인증 과정을 통해 안전한 댓글 예측 서비스를 제공하며, 기계 학습을 통해 예측 모델의 정확도를 지속적으로 개선할 수 있습니다. 이러한 기술은 온라인 플랫폼 운영의 효율성 및 경제성을 향상시키고, 사용자 경험을 개선하는 장기적인 효과를 기대할 수 있습니다.
기본 정보
•
특허명: 딥러닝 기반의 댓글 예측 모델을 통해 추가적인 댓글의 생성 여부를 예측할 수 있는 전자 장치 및 그 동작 방법
•
대표 발명자: 최대진 교수
•
출원번호: 10-2023-0079294
발명의 배경 및 필요성
기술의 배경
•
인터넷의 활발한 보급으로 다양한 정보를 접하게 되었고, 특히 뉴스 기사 등의 콘텐츠에 대해 댓글이라는 방식으로 사람들이 자신의 의견을 표현하는 경우가 많아짐
•
이러한 댓글을 이용한 사람들의 관심사를 예측하는 마케팅 방식에 대한 연구가 활발히 진행되고 있음
•
댓글은 원본 콘텐츠에 대한 직접적 의견을 남기는 형태가 주를 이루지만, 특정 사람이 남긴 댓글에 대한 새로운 댓글을 남기는 형식의 대댓글도 많이 활용되고 있음
•
기계학습 기반의 딥러닝 기술이 등장하면서, 이를 활용하여 댓글 집합으로부터 추가적인 댓글이 생성될지 여부를 예측하는 기술의 개발이 가능해짐
기술의 필요성
•
본 발명은 딥러닝 기반의 댓글 예측 모델을 생성하고, 이 댓글 예측 모델을 통해서, 소정의 댓글들로 구성된 댓글 집합으로부터 추가적인 댓글의 생성 여부를 예측할 수 있는 기술을 제시하고자 함
•
특정 콘텐츠에 대해 사람들이 많은 댓글을 남기는 경우, 해당 콘텐츠와 관련된 이슈에 대한 사람들의 관심도를 파악할 수 있어, 댓글 분석을 통한 마케팅 방법의 도입을 고려할 수 있음
•
특정 콘텐츠가 있을 때, 해당 콘텐츠에 대해 사람들이 댓글 또는 대댓글을 남길지 여부를 예측함으로써, 이 예측 결과를 바탕으로, 해당 콘텐츠가 이슈화될 가능성을 예측하는 기술에 대한 요구가 증가하고 있음
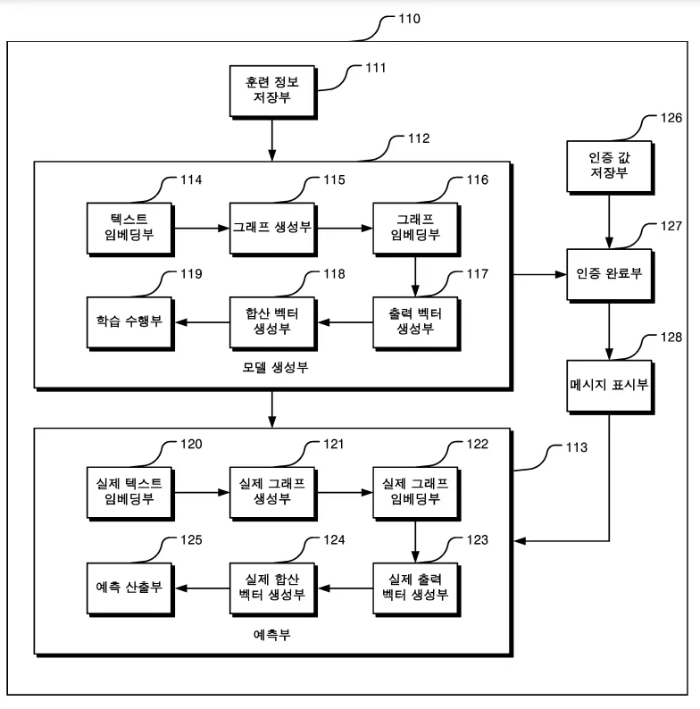
구현방법
기술의 원리
•
본 기술은 딥러닝 기반의 댓글 예측 모델을 사용하여 추가 댓글 생성 여부를 예측하는 방법을 제공함.
•
훈련 정보 저장 부에는 사전에 수집된 훈련용 댓글 집합들과 이들에 대응하는 정답 레이블이 저장됨.
•
모델 생성부는 훈련용 댓글 집합들 중 하나를 선택하여, 이와 그에 대응하는 정답 레이블을 기반으로, 추가 댓글이 생성될지 여부를 예측하는 예측 모델을 생성함.
구체적인 구현 방법
•
훈련 정보 저장부에서 훈련용 댓글 집합을 선택하고, 이와 대응하는 정답 레이블을 이용해 예측 모델을 생성함.
•
이 예측 모델을 사용하여 사용자가 입력한 댓글 집합으로부터 추가 댓글의 생성 여부를 예측함.
•
사용자 인증이 완료되면, 사용자는 실제 댓글 집합을 전자 장치에 입력할 수 있음.
•
사용자가 제1 실제 댓글 집합을 입력하면, 댓글 예측 모델을 기반으로 추가 댓글 생성 여부를 예측함.
기술의 장점
•
본 기술은 추가 댓글의 생성 여부를 정확히 예측할 수 있어, 실시간 댓글 동향 분석 등에 활용될 수 있음.
•
사용자 인증 과정을 통해 안전한 댓글 예측 서비스를 제공할 수 있음.
•
기계 학습을 통해 예측 모델의 정확도를 지속적으로 개선할 수 있음.
실험 및 결과
실험의 목적
•
본 실험의 목적은 딥러닝 기반의 댓글 예측 모델이 실제 댓글 집합에 대해 추가 댓글 생성 여부를 얼마나 정확하게 예측하는지 확인하는 것임.
실험 방법 및 과정
•
다양한 도메인의 댓글 데이터를 수집하여 훈련용 댓글 집합을 구성하고, 이에 대응하는 정답 레이블을 설정함.
•
이 데이터를 이용하여 댓글 예측 모델을 학습시킨 후, 실제 댓글 집합을 입력하여 추가 댓글 생성 여부를 예측함.
실험 결과
•
실험 결과, 본 예측 모델은 실제 댓글 집합에 대해 높은 정확도로 추가 댓글 생성 여부를 예측함을 확인함.
•
특히, 학습 데이터가 충분할 경우 예측 정확도가 크게 향상되는 것을 확인함.
•
따라서 본 기술은 다양한 도메인에서 실시간 댓글 동향 분석 등에 활용될 수 있음.
발명의 활용 방안
온라인 플랫폼 서비스
•
본 발명은 딥러닝 기반 댓글 예측 모델을 통해 소셜 미디어, 뉴스 사이트, 블로그 등 다양한 온라인 플랫폼에서 댓글의 생성 여부를 예측할 수 있음
•
이를 통해 플랫폼 운영자는 댓글 활동의 트렌드를 파악하고, 콘텐츠 관리 및 마케팅 전략을 개발할 수 있음
기존 기술과의 연계
•
본 발명은 기존의 댓글 분석 기술과 결합하여, 댓글의 성향 및 트렌드뿐만 아니라 댓글의 생성 여부까지 예측할 수 있어서, 더욱 다양한 분석 결과를 제공할 수 있음
•
이는 개인화된 서비스 제공, 효율적인 광고 타겟팅, 사용자 참여도 분석 등에 활용될 수 있음
경제적 가치
•
본 발명을 활용하면, 플랫폼 운영자는 사용자의 반응을 미리 파악하고, 이를 바탕으로 효율적인 콘텐츠 관리 및 마케팅 전략을 수립할 수 있어 경제적 이익을 증대시킬 수 있음
•
또한, 댓글의 생성 여부를 예측함으로써, 불필요한 댓글 관리 비용을 절감하고, 사용자 참여도를 높일 수 있어서 경제적 가치를 높일 수 있음
기대효과
기술적 혁신
•
본 발명은 딥러닝 기반의 댓글 예측 모델을 통해 댓글의 생성 여부를 예측하는 새로운 기술을 제시함으로써, 기술적 혁신을 이룰 수 있음
•
기존의 댓글 분석 기술을 확장하여, 댓글의 생성 여부까지 예측할 수 있게 되어, 더욱 심층적인 분석이 가능해짐
사회적 가치
•
이 발명을 통해, 사용자의 소통 패턴과 반응을 더욱 정확하게 이해하고 예측할 수 있게 되어, 사용자에게 맞춤화된 서비스를 제공할 수 있음
•
또한, 불필요한 댓글 관리 비용을 절감하고, 사용자 참여도를 높일 수 있어, 온라인 플랫폼의 서비스 품질과 사용자 만족도를 향상시킬 수 있음
장기적인 비전
•
본 발명은 딥러닝 기반의 댓글 예측 모델을 통해 댓글의 생성 여부를 예측하는 기술을 제시하므로, 이 기술은 인공지능과 빅데이터 분석 기술의 발전에 기여할 것으로 보임
•
또한, 이 기술을 통해, 온라인 플랫폼 운영의 효율성 및 경제성을 향상시키고, 사용자 경험을 개선하는 등의 장기적인 효과를 기대할 수 있음
기술 SWOT 분석
Strengths
딥러닝 기반의 댓글 예측 모델
•
기계학습 기반의 딥러닝 기술을 활용하여 댓글 집합으로부터 추가적인 댓글이 생성될지 여부를 정확하게 예측할 수 있습니다.
사용자 인증 과정
•
사용자 인증 과정을 통해 안전한 댓글 예측 서비스를 제공할 수 있습니다.
예측 모델의 정확도 개선
•
기계 학습을 통해 예측 모델의 정확도를 지속적으로 개선할 수 있습니다.
Weaknesses
데이터 수집과 관리
•
다양한 도메인의 댓글 데이터를 수집하고 관리하는 과정이 복잡하고 시간이 많이 소요될 수 있습니다.
모델 학습 시간
•
댓글 예측 모델을 학습시키는 데에 상당한 시간이 소요되며, 이로 인해 실시간 댓글 동향 분석에 제한이 있을 수 있습니다.
Opportunities
온라인 플랫폼 서비스 활용
•
소셜 미디어, 뉴스 사이트, 블로그 등 다양한 온라인 플랫폼에서 댓글의 생성 여부를 예측하여 플랫폼 운영 및 마케팅 전략에 활용할 수 있습니다.
기존 기술과의 연계
•
기존의 댓글 분석 기술과 결합하여, 댓글의 성향 및 트렌드뿐만 아니라 댓글의 생성 여부까지 예측할 수 있어서, 더욱 다양한 분석 결과를 제공할 수 있습니다.
Threats
데이터 보안 이슈
•
다양한 도메인의 댓글 데이터를 수집하고 관리하는 과정에서 데이터 보안 이슈가 발생할 수 있습니다.
기술적 한계
•
딥러닝 기반의 댓글 예측 모델은 학습 데이터가 충분하지 않을 경우 예측 정확도가 떨어질 수 있습니다.
시장 동향
댓글 예측 기술 및 시장 동향
댓글 예측 기술 및 시장 동향
대표도면
인천대학교 산학협력단
(21999) 인천광역시 연수구 갯벌로 27(송도동) INU이노베이션센터 202호
본 메일은 마케팅 활용 동의서에 동의하신 회원님께 전송된 것입니다.
COPYRIGHT (c) 2023 Incheon National University. ALL RIGHT RESERVED.




