요약
이 기술은 비전 트랜스포머(Vision Transformer) 모델을 사용하여 뇌파 스펙트로그램 이미지를 분석하고 이를 통해 뇌 질환을 진단하는 방법을 제안한다. 기존의 주관적이고 비효율적인 뇌파 분석 방법을 개선하기 위해, 이미지를 소정의 패치 단위로 분할하고 시퀀스 형태로 변환하여 분석하는 트랜스포머 인코더를 사용하여 보다 객관적이고 고효율의 진단을 가능하게 한다. 이 기술은 병원, 스포츠 및 교육 분야에서 빠르고 정확한 진단 및 평가에 활용될 수 있으며, 이를 통해 의료비 절감, 훈련 및 학습 효율 향상 등 다양한 기대효과를 제공한다.
기본 정보
•
특허명: 비전 트랜스포머 모델에 기초하여 뇌파 스펙트로그램 이미지에 대한 정상 여부 판단을 수행하는 전자 장치 및 그 동작 방법
•
발명자: 김지범 교수
•
출원번호: 10-2023-0015354
•
등록번호: 10-2555139
상세 정보
발명의 배경과 필요성
기술의 배경과 문제점
•
최근 뇌 건강의 중요성이 증대됨에 따라 뇌 질환과 관련된 다양한 진단 방법이 등장함. 뇌파 분석은 이러한 진단 방법 중 하나로 주로 활용됨. 뇌파 스펙트로그램은 뇌파의 스펙트럼을 시각적으로 표현한 것으로, 시간과 주파수를 나타냄.
•
기존의 뇌파 스펙트로그램 분석 방법은 주관적 요소가 많아 진단의 정확성이 떨어짐. 또한, 반복적인 파형 인식이 필요하며, 이는 많은 시간과 노력을 요구함. 따라서, 보다 객관적이고 효율적인 진단 방법의 개발이 필요함.
•
기술의 발전에 따라, 기계학습 기반의 인공지능 기술이 등장하면서, 대량의 데이터를 처리하고 패턴을 인식하는 능력이 향상됨. 이는 뇌파 스펙트로그램 분석에도 적용 가능성을 열어줌.
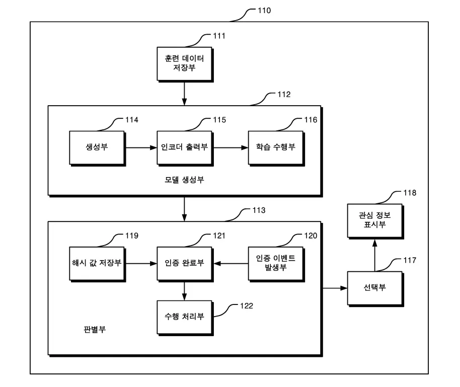
구현방법
기술의 원리
•
본 발명은 비전 트랜스포머(Vision Transformer) 모델을 이용하여 뇌파 스펙트로그램 이미지를 분석하고, 이를 바탕으로 정상 여부를 판별함. 비전 트랜스포머 모델은 이미지를 소정의 패치 단위로 분할하고, 이를 시퀀스 형태로 변환하여 분석함.
•
비전 트랜스포머 모델은 기존의 합성곱 신경망(CNN)보다 높은 예측 성능을 보여줌. 이는 이미지 패치 간의 연관성을 고려할 수 있기 때문임.
구체적인 구현 방법
•
우선, 다양한 뇌파 스펙트로그램 이미지를 수집하고, 이를 기반으로 학습 데이터를 구축함. 정상과 비정상에 해당하는 이미지들을 각각 라벨링하여 저장함.
•
이미지를 가로와 세로로 소정의 크기(예: 3x3 픽셀)로 분할하여 여러 개의 이미지 패치를 생성함. 이후 각 이미지 패치에 대한 임베딩 벡터를 생성하고, 이 벡터들을 시퀀스 형태로 전환함.
•
트랜스포머 인코더에 임베딩 벡터 시퀀스를 입력하고, 이를 통해 셀프 어텐션 값을 산출함. 다수의 셀프 어텐션 헤드를 사용하여 각 이미지 패치 간의 관계를 분석함.
•
학습 과정에서는 제1 뇌파 스펙트로그램 이미지에 대한 정답 값과 모델의 예측 값 간의 오차를 최소화하는 방향으로 손실 함수를 활용하여 역전파 처리를 수행함.
•
완성된 모델에 실제 뇌파 스펙트로그램 이미지를 입력하였을 때, 정상 여부를 판단할 수 있도록 학습된 모델을 연동함. 이를 통해 높은 정확도의 진단 결과를 얻을 수 있음.
발명의 활용 방안
•
본 발명은 병원 및 뇌 건강 진단 센터에서 활용 가능함. 의료진이 뇌파 스펙트로그램 이미지를 분석하여 보다 빠르고 정확하게 뇌 질환을 진단할 수 있음.
•
스포츠 분야에서도 선수들의 뇌파를 분석하여 피로도나 집중력을 객관적으로 평가할 수 있음. 이를 통해 훈련 효율을 극대화할 수 있음.
•
교육 분야에서는 학생들의 뇌파를 분석하여 학습 집중도를 평가하고, 개인 맞춤형 학습 계획을 세울 수 있음.
기대효과
•
본 발명을 통해 뇌 질환 진단의 정확도와 효율성을 크게 향상시킬 수 있음. 이는 의료비 절감과 더불어 환자의 치료 효과를 높이는 데 기여할 것임.
•
스포츠 및 교육 분야에서의 활용을 통해 개인 맞춤형 전략 수립이 가능해지며, 이는 성과 향상으로 이어질 것임.
•
다양한 분야에서의 뇌파 데이터 활용이 가능해지면서, 새로운 비즈니스 모델과 산업 생태계가 조성될 것으로 기대됨.
대표도면
인천대학교 산학협력단
(21999) 인천광역시 연수구 갯벌로 27(송도동) INU이노베이션센터 202호
본 메일은 마케팅 활용 동의서에 동의하신 회원님께 전송된 것입니다.
COPYRIGHT (c) 2023 Incheon National University. ALL RIGHT RESERVED.


